マルツTOP > APPLICATION LAB TOPページ > おすすめ技術記事アーカイブス > IoTアプリケーションにおける半導体技術を使用した効果的な温度検出
IoTアプリケーションにおける半導体技術を使用した効果的な温度検出
IoTアプリケーションの増加によって、消費者、住居、商業、工業の各状況において温度センサの必要性が高まっています。温度は最もよく測定される物理変数ですが、温度測定ではセンサのタイプや長期的な性能維持、環境の変化に関する問題が頻繁に発生します。
従来の温度検出技術には、サーミスタ、熱電対、測温抵抗体(RTD)があります。この記事では、温度測定に関して設計者が直面する課題について説明し、これら3つの検出方法を比較します。その後、4つ目の方法である半導体温度センサについて説明します。続いて、導入に最適なIC温度センサソリューションを紹介し、そのソリューションをどのように使用してIoTの温度測定要件を満たすことができるかを示します。
温度測定に関して継続している課題
原則的には温度を測定することは簡単ですが、実際のところ、センサの精度、配置、電力消費、測定場所の数といった理由から、温度を効果的に測定することが困難である場合があります。
精度:一部のIoTアプリケーションが求める性能はわずか±2℃ですが(±1℃が最も一般的)、精密なアプリケーションでは±0.5℃またはそれより高精度なより高い性能が必要になる場合があります。
配置:実際のセンサの設置場所がジレンマになることがよくあります。たとえば、ワイヤの長さも考慮に入れながら、読み取りの整合性を低下させることなく、関心のあるポイントからどれだけ遠くにセンサを置くことができるかなどです。
電力消費:多くのIoTアプリケーションは、長寿命バッテリや環境発電といった有限電源で動作しています。
検出場所の数:モニタリングするポイントが1~2か所だけでよい場合もあれば、さらに多くのポイントを測定する必要がある場合もあります。これにより、通信やコスト面での問題が生じると同時に、配置がさらに複雑化し、電力消費の心配も増大します。
従来のセンサでは十分に対応できない場合がある
熱電対、RTD、サーミスタは広く使用されており、IoTでない有線のアプリケーションや、電力を簡単に受給できる場合に適しています。ただし、こうした重要な属性は、分散させる多様なIoTの導入には合わない可能性があります。これらをサポートするために多くの高機能インターフェースICを利用することができて、設計者はアプリケーションに関する詳細な経験を有しているにもかかわらず、これが現実なのです。
これら3つのアプローチには、それぞれ良い点と悪い点があります。
・熱電対は、数千度までの非常に広範囲の温度で卓越した高精度を実現できますが、冷接点補償(CJC)のための補助的な周囲温度センサを必要とします。また、高度なインターフェース回路も必要です。
・測温抵抗体(RTD)も非常に精度が高く、抵抗伝達関数に対して温度は極めて線形に推移します。ただし、RTDには数十mAの駆動電流と、高度な駆動回路および読み出し回路が必要です。また、プラチナを使用するため、比較的高コストになります。
・サーミスタは、温度が1度変化するごとの抵抗値の変化が大きいため、高い分解能を提供します。サーミスタは精度と安定性が高く、サイズが小さいため熱質量が小さく、結果的に応答時間が速くなります。ただし、熱電対やRTDと違って、良くも悪くも応答曲線に関する業界規格が存在しません。サーミスタは多くのタイプや範囲から選択できますが、移植性や取り換えが問題になる可能性があります。
表1は熱電対、RTD、サーミスタの主な特性と属性をまとめたもので、表2はそれぞれの相対的な長所と短所を比較しています。見るとわかるように、唯一にして「最良の」温度センサは存在しません。どのタイプのセンサも、その特性とアプリケーションの目的および優先事項との間にトレードオフ関係があるためです。

・熱電対は、数千度までの非常に広範囲の温度で卓越した高精度を実現できますが、冷接点補償(CJC)のための補助的な周囲温度センサを必要とします。また、高度なインターフェース回路も必要です。
・測温抵抗体(RTD)も非常に精度が高く、抵抗伝達関数に対して温度は極めて線形に推移します。ただし、RTDには数十mAの駆動電流と、高度な駆動回路および読み出し回路が必要です。また、プラチナを使用するため、比較的高コストになります。
・サーミスタは、温度が1度変化するごとの抵抗値の変化が大きいため、高い分解能を提供します。サーミスタは精度と安定性が高く、サイズが小さいため熱質量が小さく、結果的に応答時間が速くなります。ただし、熱電対やRTDと違って、良くも悪くも応答曲線に関する業界規格が存在しません。サーミスタは多くのタイプや範囲から選択できますが、移植性や取り換えが問題になる可能性があります。
表1は熱電対、RTD、サーミスタの主な特性と属性をまとめたもので、表2はそれぞれの相対的な長所と短所を比較しています。見るとわかるように、唯一にして「最良の」温度センサは存在しません。どのタイプのセンサも、その特性とアプリケーションの目的および優先事項との間にトレードオフ関係があるためです。
表1:広く使用されている従来の3つの温度センサ(熱電対、RTD、サーミスタ)は、主要な性能属性が大きく異なっています。(画像提供:Omega Engineering Inc.)
表2:基本属性の比較では、熱電対、RTD、サーミスタのそれぞれに、用途の要件に応じて果たす役割があることを示しています。(画像提供:Omega Engineering Inc.)
熱電対とサーミスタが持つ本質的な非直線性は、線形化を行う必要があることを意味しています(図1)。この線形化は、(大部分の新しい設計ではあまり一般的ではない)全アナログ回路、メモリによるルックアップテーブル、あるいは補正計算を提供するアルゴリズムを使用して実行できます。ただし、線形化を行うことで、基本的なIoTアプリケーションやマルチチャンネルアプリケーションでも、それらを使用しなければならないというさらなる問題が発生します。

図1:熱電対、RTD、サーミスタを使用するシステムは、本質的な非直線性を補償する必要があります。これは、各タイプの一般的形状および特定モデルの両方で異なっています。(画像提供:Omega Engineering Inc.)
サーミスタ、RTD、熱電対は、それぞれが持つ長所によって特定の用途にとって理想的なセンサとなっていますが、IoTアプリケーションの設計者はより包括的なソリューションを必要としています。つまり、典型的な半導体アプリケーション環境において、低コストで迅速に導入することができ、精度、性能、応答時間を維持できるソリューションを必要としています。接続する必要があるセンサの数が増えると、通信や設定の容易さも必要になります。
これらは、検出に対する半導体によるアプローチが、IoTデバイスの設計者にとって魅力的であることを証明する理由の一部です。
これらは、検出に対する半導体によるアプローチが、IoTデバイスの設計者にとって魅力的であることを証明する理由の一部です。
IoTテンプレートに適している半導体温度センサ
半導体温度センサの概念は新しくありませんが、この数年間で劇的に発展、向上しています。半導体温度センサは、よく知られている理想ダイオードの方程式から始まります。この方程式では、式1に従って、ダイオードの電流や電圧、温度の関係を定義します。
(式1)
ダイオードの熱電圧Vtは、P-N接合において温度の影響によって生じる電圧です。この熱電圧は、室温で約26mVです。また、熱電圧と温度のこうした関係によって、ダイオードを温度センサのコアとして使用することができます。
ただし、この関係がもつ避けることのできない本質的な非直線性によって、基本的なダイオードを使用したり、較正済みセンサとして機能させることが困難になります。オンチップの線形化回路を追加することで、半導体センサはIoTアプリケーションにとって効果的な選択肢として機能することができます。ダイオードの周辺にコンポーネントを追加することで、ダイオードベースのセンサが魅力的な選択肢になるところまで問題を克服することができます。
図2:アナログデバイセズのAD590は2端子電流源の温度センサであり、絶対温度に比例して線形の1μA/Kの電流を生成します。ここでは、リード線付きのフラットパックパッケージで示しています。(画像提供:アナログデバイセズ)
センサは温度に依存する単純な電流源として機能し、絶対温度に比例した(PTAT)1μA/Kのアナログ出力電流を生成します。この出力はデバイスを較正するためにレーザートリミングされ、298.2K(25℃)で298.2μAを出力します。電流出力は比較的ノイズの影響を受けないため、4~20mA電流ループと同じように、長いワイヤ導管で使用できます。
AD590は、電流出力リードを介して適用される、+4~+30Vの電圧源で動作します。-55℃~+150℃の動作範囲で±2℃~±0.5℃までの範囲の精度仕様を満たすために複数のバージョンを利用できます。多くのIoTアプリケーションは、おそらく精度の低い制限された読み取りしか必要としないため、コストの低いバージョンが適しています。
AD590シリーズが導入されて以降の数十年間で、元の概念に基づく多くのバリエーションが導入されました。たとえば、多くの設計において、基本電流出力は不便です。なぜなら、基本電流出力を有用なものにするには、電流から電圧または電流からデジタルへの変換が必要だからです。
こうした要因によって、アナログデバイセズが提供するAD22100のようなセンサが導入されました。AD22100は、22.5mV/℃の温度係数で、温度×V+に比例する線形電圧出力を提供します(図3)。-55℃~+150℃の範囲ではトリミングは必要ありません。精度は少なくともフルスケールの±2%ですが、直線性はフルスケールの±1%よりも優れています。

図3:このAD22100の機能ブロック図は、温度に依存する電流出力が内部オペアンプにより正確に拡大/縮小されて電圧に変換される仕組みを示しています。(画像提供:アナログデバイセズ)
図3:このAD22100の機能ブロック図は、温度に依存する電流出力が内部オペアンプにより正確に拡大/縮小されて電圧に変換される仕組みを示しています。(画像提供:アナログデバイセズ)
レシオメトリック特性により、AD22100の5V電源をA/Dコンバータ(ADC)の基準として使用することで、AD22100を簡単にADCにインターフェース接続することができます(図4)。これにより、高精度な基準電圧は不要になります。+5.0Vの電源が1つの場合、出力範囲は+0.25V(-50℃)~+4.75V(+150℃)になります。
図4:アナログデバイセズのAD22100半導体センサの電圧出力は、ADCに直接インターフェース接続するのに非常に適しています。(画像提供:アナログデバイセズ)
別のダイオードベースの半導体センサも利用することができます。このセンサには、システムプロセッサへのI2CまたはSMBusインターフェースをもつA/Dコンバータが搭載されています。温度は比較的ゆっくり変化する変数であるため、A/Dコンバータは高分解能(18~22ビット)で低速に機能し、非常に低電力で動作します。これらは、1つまたは少数のチャンネルしか必要でない場合に効果的なソリューションです。
多くのチャンネルが必要な用途では(システム内に存在する可能性のあるさまざまな「ホットスポット」のモニタリングなど)、低コストのセンサを採用して、変換回路を共有する方が理にかなっている場合があります。利用可能な最も低コストなセンサは基本ダイオードですが(実際には、低性能トランジスタのダイオード接合)、その非直線性が使用を困難にしています。
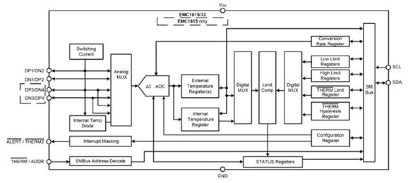
こうした懸念を克服するために、Microchip TechnologyのEMC181xシリーズなどのICは複数のトランジスタをサポートし、必要な機能を追加することで、トランジスタのダイオード出力を線形および高精度にすると同時に、デジタル化も行っています。外部トランジスタが追加されると、このファミリのデバイス(EMC1812/13/14/15/33)は、SMBus/I2Cインターフェースを備えた高精度な2線式マルチチャンネル温度センサとして機能します(図5)。
図5:Microchip Technologyが提供するEMC181xファミリのインターフェースICには、1つの内部ダイオード(トランジスタ)センサと1~4個の外部ダイオードセンサがあります。これにより、配線およびインターフェースのコンポーネントが最小限に抑えられるため、マルチチャンネル測定のタスクが大幅に簡略化されます。(画像提供:Microchip Technology Inc.)
シリーズの各ICには、内部温度センサ(最大精度は±1℃、-40℃~+125℃)と外部の検出チャンネルへのインターフェースが含まれています。EMC1812には1つの外部ダイオードチャンネルがあり、最も多いEMC1815には外部チャンネルが4つあります。
高精度を保証し、較正の必要性を回避するために、これらのICには複数の高度な機能が搭載されています。たとえば、抵抗値誤差補正(REC)は、リード線の直列抵抗により発生する温度誤差を自動的に排除するため、検出ダイオードのルーティングにおける柔軟性の向上を実現します。ベータ補償と呼ばれるもう1つの機能では、広く利用可能な低い可変ベータトランジスタによって引き起こされる温度誤差を排除します。その結果、外部ダイオードの読み取りに関して±1℃の測定精度と0.125℃の分解能を実現します。
統合によって処理能力の向上と柔軟な設定を実現
EMC181xシリーズは、システムプロセッサにとって単なる測定機能やレポート機能を超えるものです。ユーザーが設定可能なチャンネルごとの閾値アラートや変化率の測定アラートといったこのシリーズに搭載されている機能によって、プロセッサは温度をチェックし続ける必要がなくなりますが、こうしたICの内部の複雑さは依然としてユーザーに対して透過的です(図6)。結果的に、複数の読み取りポイントにまたがる状況をモニタリングして評価するというプロセッサの負担を大幅に軽減しながら、ユーザーの柔軟性は保持されます。
図6:EMC181xファミリのIC内には、閾値や傾向アラームに関してユーザーが設定したチャンネルごとの値を格納するためのレジスタがあります。(画像提供:Microchip Technology Inc.)
半導体センサICは、大部分のデバイスにとってより一般的な±0.5~±1℃の定格よりも高い精度を提供するように設計することもできます。この例として、Texas InstrumentsのTMP117があります(図7)。

半導体センサICは、大部分のデバイスにとってより一般的な±0.5~±1℃の定格よりも高い精度を提供するように設計することもできます。この例として、Texas InstrumentsのTMP117があります(図7)。
図7:-20℃~+50℃の範囲で±0.1℃の精度が保証されているTexas InstrumentsのTMP117は、重要な医療用規格を満たすことが認定されており、制限された範囲のニーズをもつ多くのIoTアプリケーションにも非常に適しています。(画像提供:Texas Instruments)
これは、患者用の電子体温計をターゲットにした(ただしこれに限定されない)高精度なデジタル温度センサです。この用途のために、TMP117は設計され、ASTM E1112およびISO 80601の要件を満たしています。その他の用途には、環境モニタリング、高性能サーモスタット、ウェアラブル、アセットトラッキング、コールドチェーンモニタリング、およびガス/熱メータなどがあります。
TMP117は較正不要で、温度の測定結果を16ビット、0.0078℃(18ビット)の分解能、および-20℃~+50℃の温度範囲で最高±0.1℃の精度で提供します。これは比較的制限された範囲ですが、多くの用途で十分に対応できる範囲です。その精度は依然として高く、-55℃~+150℃の範囲での最大誤差は±0.3℃です。
TMP117は温度の読み取りを1Hzのレートでデジタル化し、I2CおよびSMBusと互換性があるインターフェースを介して結果を提供します。1つのバスでは、こうしたICを最大4個サポートできます。プロセッサの負担を軽減するために、プログラム可能な閾値アラート関数が含まれています。対象用途の多くがエネルギー容量が制限されたバッテリ駆動であるため、TMP117は1.8~5.5Vの電源で動作し、通常は150nAのシャットダウン電流で3.5μAを消費することに注意することが重要です。さらに、TMP117は小型で、6本のリード線が付いた2.00mm×2.00mm WSONパッケージに格納されています。
適切な仕様を備えたセンサの選択と、そのセンサの適切な利用という2つの問題は関連性がありますが、ある程度独立した問題です。温度センサを選択する場合に常に生じる基本的な問題は、どの範囲で有効な読み取りを提供する必要があるかということです。
これを決定すると、範囲全体で必要な絶対精度、精密さと分解能、直線性に関連する問題が出てきます。正確な値を把握することではなく、小さな温度変化を「確認する」ことにより関心がある用途もあれば、読み取りの絶対精度の方が重要である用途もあります。設計者は、各パラメータで必要な性能のレベルを慎重に検討する必要があります。関心のある狭いゾーンでより高い精度が必要であり、そのゾーンからさらに離れると必要な精度が低くなる場合、状況はさらに複雑になります。
温度センサのデータシートには「-55℃~+150℃の範囲での±1℃の精度」といったおおまかな主張がわずかに記載されていますが、性能に関する詳細な表やグラフも数多く提供されています。これらは、概要レベルの説明を展開して前後関係をユーザーに提供し、たとえば、どの仕様が一般的な数値であるか、どれが最小数または最大数であるかなどを示します。さらに、性能は全範囲のさまざまなゾーンで異なるため、センサの直線性曲線も示します。また、読み取りの精度は通常は範囲全体で一定ですが、絶対精度は一定ではありません。システムの目的が主に検出値に関する小さな変化をレポートすることである場合、これは通常は重要ではありません。
センサの配置も問題です。もちろん、センサは関心のあるポイントや領域の近くに置く必要がありますが、問題は厳密にどこに、どれだけ近くに置くかということです。場合によっては、センサを検出対象のアイテムに物理的に接続する必要があります(過熱状態になる可能性のあるモータのフレームなど)。それに対して、エンクロージャの場合は、センサを箱の中の「どこか」に置く必要があります。「どこか」を決定することは困難である場合があります。気流の中に直接配置すると、熱いコンポーネントの近くに配置した場合と大幅に異なる読み取りが提供される可能性があるからです。
こうした理由から、多くの高度な設計では複数のセンサを使用して、システムが動作するときのリアルタイムのサーマル「マップ」を作成し、局在する重要なホットスポットとシステム全体の温度を測定しています。このシナリオは、小型のエンクロージャやシャーシに適用されるだけではありません。温度検出が行われるポイントが1つ以上必要なIoTアプリケーションには、HVAC、給湯器、エネルギー管理、セキュリティ、アプライアンスモニタリング、およびその他の過熱シナリオが含まれます。これらの読み取りの差異、特にそうした差異の変化が問題を示している場合があります。
こうした半導体センサが、IoTアプリケーションにとって有益である点がもう2つあります。1つは、半導体センサは小型で低質量であるため、測定対象のポイントや物に与える熱影響を最小限に抑えることができます。また、温度の上昇/下降レートを感知できるほどに変化させることはありません。2つ目は、半導体センサは低消費電力であるため、自己発熱もごくわずかです。そのため、センサ自体の熱放射によって読み取りが乱されることはありません。
結論
従来のセンサは特定の用途でその長所を発揮しますが(熱電対の場合の極めて高い温度など)、こうした極端な状況は大部分のIoTアプリケーションではめったに問題になりません。こうした理由から、半導体温度センサが重要になっています。半導体温度センサは、精度と分解能が極めて高く、電力要件が低く、サイズが小さく、機能レベルが向上しているためです。単一チャンネルおよびマルチチャンネルのどちらのIoTアプリケーションも、こうした半導体デバイスに簡単にインターフェース接続でき、高精度で精密な読み取りを実現します。
免責条項:このウェブサイト上で、さまざまな著者および/またはフォーラム参加者によって表明された意見、信念や視点は、Digi-Key Electronicsの意見、信念および視点またはDigi-Key Electronicsの公式な方針を必ずしも反映するものではありません。
このページのコンテンツはDigi-Key社より提供されています。
英文でのオリジナルのコンテンツはDigi-Keyサイトでご確認いただけます。
Digi-Key社の全製品は 1個からマルツオンラインで購入できます
ODM、OEM、EMSで定期購入や量産をご検討のお客様へ【価格交渉OK】
毎月一定額をご購入予定のお客様や、量産部品としてご検討されているお客様には、マルツ特別価格にてDigi-Key社製品を供給いたします。
条件に応じて、マルツオンライン表示価格よりもお安い価格をご提示できる場合がございます。
是非一度、マルツエレックにお見積もりをご用命ください。






